
塑胶跑道施工遇雨天能提供什么帮助?
塑胶跑道施工了解天气情况,对施工进度非常关键,提交了解施工周期内天气,能帮助我们做出更合理的施工计划,那么偶遇雨天能帮助我们什么呢?

硅pu篮球场施工好面层,下雨表面为什么会出现类似黑色油污?
对于黑色油渍物质,经常进行篮球场施工的人员,非常的熟悉,就是通常所说的材料反油,那么产生的原因是什么,又应该注意什么呢?

塑胶跑道与篮球场施工好后取样检测需要注意什么?
塑胶跑道与篮球场施工完成对于施工单位是成果,同时甲方也充满喜悦与激动,新场地谁都有运动的欲望,但再交付使用之前,有一个非常重要的环节—取样送检,那么在这个过程中有哪些需要注意呢?

网球场施工基础处理方式
网球场施工基础处理方式包括水泥基础与沥青基础。

塑胶篮球场施工水泥基础开裂的原因
对大面积水泥砂浆地坪质量通病,根据塑胶篮球场施工公司人员多年来的经验、基层条件、原材料的性能等外加条件,分析以下几种原因及防治方法。

塑胶篮球场施工会脱胶起泡的三个原因
塑胶篮球场施工好后脱胶起泡是常见的问题之一,导致这些原因是什么,经过多年施工经验我们归纳了三个主要原因。

硅pu篮球场施工前水泥基础处理方式
硅pu篮球场施工对基础的要求比透气型塑胶跑道水泥基础要求更高,那么在实际的施工过程中需要对基础做那些处理呢?

透气型塑胶跑道施工底层人工处理方式
田径场地塑胶跑道施工,不是所以地方都能使用摊铺机,对于一些边边角角,需要纯手工进行摊铺,对于其处理方式,我们做了归纳。

塑胶跑道施工基础处理有那些程序?
塑胶跑道施工面层铺设之前需要对基础进行处理,对于水泥基础有那些处理的事项,一起来了解一下。

篮球场施工水泥基础有伸缩缝,而沥青基础没有?
篮球场施工常见的基础有水泥基础和沥青基础,在检查基础时会发现,沥青基础非常完整,而水泥基础通常5-7米会有一条伸缩缝,这是什么原因呢?

木地板运动场地验收技术标准
木地板运动场地验收技术标准包括:材种,产品性能要求,场地外观,平整度,涂层性能,通风设施。

天然草足球场施工验收技术标准
足球场施工选的天然草是非常少的一部分,一方面是成本比较高,另一方面维护成本也会相对较高,一遍只会在一些高端的体育中心或者高校才能看到标准的天然草足球场,那它的验收技术标准是怎么样的呢?

人造运动草坪验收技术标准
体育用人造草的技术要求,如:规格尺寸及偏差、外观、物理机械性能渗水性、阻燃性、摩擦系数、环保要求、耐酸碱性、耐有机物性、耐光化性、草丝磨损量等要符合国家标准GB/T20394—2006规定的有关要求。

塑胶球场施工验收技术标准
塑胶球场施工包括人造草足球场、篮球场、网球场、排球场、羽毛球场等,对于这些球场的技术验收标准,我们做了整理。

塑胶跑道施工验收技术标准
无论是使用单位还是塑胶跑道施工方,对于验收技术标准都非常关注,而随着新国标GB36246-2018的出台,技术标准又是怎么样的,带你了解。

在硅pu塑胶篮球场施工中涂层过程需要注意什么?
硅pu塑胶篮球场施工是一层一层披挂,其中中涂层是所有工序中最省时间的,但是如果想要高质量地完成硅PU塑胶蓝球场施工,有很多事项是需要注意。

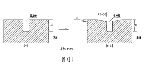
塑胶跑道施工加速排除基础水分的方法
水泥基础中的水分含量必须达到标准后才能进行塑胶跑道施工,加速排除水泥基础中的水分,就需要对于塑胶跑道进行人工干预。

塑胶跑道施工出现色差该如何解决?
要想解决塑胶跑道施工过程出现的色差问题,就需要了解产生色差的原因,对其产生的原因和防止措施,我们将做详细解释。

塑胶跑道施工四个专业化问题
塑胶跑道施工的四个专业化问题,我们来了解一下。

塑胶篮球场施工需要注意的三个方面
塑胶篮球场施工是严谨科学的项目,但在这个过程有些方面很容易被忽视,这些细节没有处理好,不仅影响塑胶篮球场质量,更关乎到施工人员的安全,这里宝力体育介绍三个容易被忽视的方面。
联系方式Contact us
地址:杭州市西湖区三墩镇池华街330号丰盛九玺
网址:zlftjs.com
电话:18072961741
传真:0571-88053696
邮编:310012