热门关键词:

塑胶跑道施工网球场施工

余姚市洋山村股份经济合作社蓝球场硅PU塑胶面层施工方案

2019-08-09

一、硅pu塑胶篮球场施工水泥基础技术要求

坚实平整(平整度要求:3m直尺误差不大于3mm),有一定排水坡度(一般60/00,必须保证泄水),强度达建筑混凝土标准C25强度,浇制后保水养护不少于7天,整体固化养护期不少于28天(保证水泥的固化时间,让水泥在固化过程中产生的白色粉末完全析出于基础表面)。新水泥基础浇制后必须切割合理温度伸缩缝,原则以不大于6x10m为一方块切割,若分板块浇制的板块间必须切割温度缝,切割温度缝要求宽为6~8mm,深度不少于30mm,(保证基础热胀冷缩能集中在温度缝中变化,不回导致基础其它地方开裂)。


二、硅pu塑胶篮球场施工基础处理:(磨缝—酸洗—底涂—填缝—找平、修补)

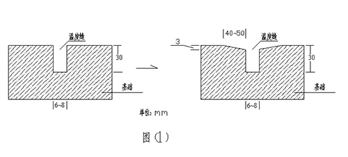
a、磨缝:把温度缝两边的基面各宽40~50mm磨成斜口深3mm(如图(1)示),使温度缝表面成“V”型,(各40~50宽是提高填缝胶与基面的粘接面积,增加其粘接力,3mm深是保证填缝胶厚度而不占用弹性层的位置,保证整体的缓冲性好,使基础的热胀冷缩不影响硅PU表面)。


塑胶篮球场施工基础


b、酸洗:用清水湿润基础(防止稀盐酸渗入基础里面),以浓度为8%左的稀盐酸均匀泼洒并洗刷基面,再用清水冲洗干净(一般冲洗两遍),洗完干燥后要求基面水泥原色,无白色粉化物及浮松物。在酸洗过程中要圈出积水位并做标识标记。
c、底涂:基础足够干燥后用专用底涂分多道滚涂于基面,原则以涂刷后基面形成光亮膜为止,不足处必须补涂至足够为止,(底涂的作用为渗透进基础的微细孔内,固化后起堵塞地下水气及加固基面;形成光亮膜是保证基础的微细孔完全堵塞),应避免在烈日下或基础温度较高情况下(>450C)施工以保证底涂漆的渗透性(无雾雨天气的早上或傍晚较适宜)。在基础表面强度

d 、填缝:底涂固化后,同填缝胶加10%-20%稀释剂(二甲苯或醋酸乙酯)稀释后用毛刷涂刷于温度缝内两侧,然后填缝泡棉对折轻挤满温度缝(填缝泡棉是可拉伸、可压缩的,有效减少基础热胀冷缩变化影响表面外观)露出部分填缝泡棉用手提磨机磨平,再用填缝胶分两道以上把“V”型槽填平(一次填的厚度不大于1.0mm,太厚会发泡,影响填缝胶的性能)。(如图(2)示)


塑胶篮球场施工基础处理


e、找平、修补:在酸洗过程中圈出的积水地方,积水涂度不超过5mm的用弹性层加面层专用砂按1:1(重量比),再加适量稀释剂搅拌均匀并调节至适合硅pu塑胶篮球场施工稠度,用直尺或刮板涂刮找平积水处;若积水深度超过5mm的地方,应用TB-002薄涂一道于积水处,再用底涂加40~80目砂按1:6~8(重量比)拌和均匀,平整摊铺于积水处并压实,修补时注意修边不要让修补后的边高出基面,若有高出需在固化后打磨平整后才能进行弹性层施工。


三、硅PU面层施工:(弹性层→加弹层→面层→划线)

1、弹性层:
弹性层施工前应仔细检查确认基础处理完后方能进行弹性层施工,弹性层为单组份材料,只需用稀释剂调节合适施工稠度,用齿刮板涂于基面, 每道涂刮厚度不能超过2.0mm,每道涂刮时间间隔以前一道干固为准(一般约10小时,具体视现场天气情况而定)直至涂刮至所需厚度。涂刮时注意流平效果,若不能流平刮齿痕迹,需多加稀释剂以保证表面流平。若气温较低,需加入3~8%水搅拌均匀后涂刮,以加速材料固化,减少间隔时间,具体加水量视现场天气而定,应避免在猛然阳光照射下施工。弹性层干固后,用积水法测试表面平整度,积水处修补平整,表面若有粒状杂物或堆积处需用磨机或其它工具修整平后才能进行加强层施工。
2、加强层:
加强层为单组份材料,施工方法与弹性层一致。若加强层设计较薄(小于1mm),齿刮涂难以流平的,可用胶刮板分多道刮涂,必须保证刮涂后表面光滑平整。在施工过程中若有杂物混入或刮涂有不平整处需修整平滑后才能进行面层施工。
3、面层:
面层为双组份水性材料,必须按规定比例(A组:B组=9:1(重量比))把两组份充分搅拌均匀,(配比不准会影响面层的固化效果,直接影响面层的使用性能)加水稀释施工稠度,一般加入50~80%,用专用喷枪分多道喷涂于加强层面上。需表面粗糙的加入专用砂进行喷涂便可。最低温度低于5℃不适宜施工,硅pu塑胶篮球场施工后保持10小时无水浸泡。
4、划线
按标准尺寸量度定位,标出界线位置,用美纹纸沿界线两边贴在球场上,用专用划线漆涂刷于美纹纸间,待表面干后撕掉美纹纸。专用划线漆为双组份材料,必须按规定比例把A、B两组份充分混合均匀,分两道涂刷。若球场表面为粗糙面,第一道可加20%面层专用砂涂刷,以防渗边。
5、注意事项:
a、调配材料时必须称量准确并搅拌均匀。
b、硅pu塑胶篮球场施工施工整过程每一道工序施工前必须保持表面清洁。
c、室内场地必须保证良好的通风效果。

d、场地铺设后需保持5天以上才能投入使用。


文章来源:http://zlftjs.com/,转载请注明出处。

mAbBb